昨年末から評判になってるIntel謹製の超小型PC!もう、いっぱいレビューされてるので今更の感もあるけど、NUCってメモリやSSDを買って自分で組み立てなきゃ動かない、もっと言えばミッキーマウス端子の電源コードの1本くらい持ってて当然の自作ユーザをターゲットにしているという時点で、お手軽で良かったねじゃなくて、カスタマイズしてナンボ、拡張してナンボの世界じゃないかなと思う。
その意味では、Thunderboltが付いて格段に拡張性の高いDC3217BYキットじゃなくて、殆ど拡張の余地なんてなさそうなDC3217IYEキットこそがNUCの王道だ。
そこで今回は、無理矢理PCI接続の地デジチューナを組み込んで、超小型録画タイムマシンを作ってみる。
結論から言うと、電気的には可能だ。現実には解決しなきゃならない問題もいろいろとあるんだけど、そんな悩みもまた自作の楽しみかな。実際に動かしてみた感想は、ホントに小さくて、静かで、思った以上にキビキビ動いてる。
■ 参考になったサイト
mini-PCIe拡張:KEI_8774さん
電源供給:あれこれテストさん
音声(USB-DAC):Satoshiさん、kazgbさん
■ パーツリスト
DC3217IYE (レビュー品)
Intel SSD 525 240GB (レビュー品)
Intel Centrino Advanced-N 6325 (レビュー品、未使用)
CFD W3N1600Q-2G (1600MHz、2GB x2 デュアルチャンネル動作)
Hitachi 0S03357 (4TB HDD)
Logitec SATA-USB変換カード
KZ-B22(mini-PCIe延長カード)
DIRAC DIR-EB262-G1C13 (mini-PCIeからPCI x2変換カード)
地デジチューナ (PCI)
カードリーダ (USB)
HDMIケーブル 50cm
HDMI-DVI変換アダプタ
USBヘッダピンーメスコネクタ変換ケーブル
他、キーボード、マウス、モニタ、外部電源(5V供給)
・・・・・・・・・・・・・・・・・・・・・・・・・・・・・・・・・・・・・・・・・・
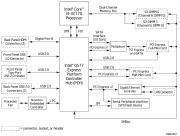
ということで、実際DC3217IYEにはどんな拡張ソケットがあるかと言うと
(1) mini-PCI Expressが2つ
(2) USBが5つ(フロント1、バック2、内部ヘッダピン2)
ただし、mini-PCIeはハーフサイズの上にフルサイズのカードが重なるデザインのため、SATAコネクタのように高さのあるハーフサイズカードは(そのままでは)使えない。また、2つのmini-PCIeソケットのうち、フルサイズのみがSATAに対応する(ダイアグラムでは3Gb/sとなっているが、技術仕様書では6Gb/sとなっている)ので、ハーフサイズソケットに起動ドライブという選択肢は無い。必然的に、起動ドライブ以外の拡張カードをハーフサイズに載せることになる。つまり、mini-PCIeソケットが2つというより、SATAソケットがひとつとmini-PCIeがひとつと考えた方が分かりやすい。mini-PCIe-SATA3 x2変換カードを使って、SATAソケットを増やすことは可能。
USBは、チップセットが3.0をサポートしているにも関わらず、何故か2.0のまま。これが3.0だったら(次バージョンでのメジャーアップデートになるらしい)、Thunderboltくらいのインパクトがあった。因みに、ボードのD33217GKEには付いてるUSBの内部ヘッダピンが、DC3217IYEキットでは省かれていることが多いようだ。送ってもらったNUCにはちゃんと付いていた。ラッキー!っていうか、キットでは使うなっていう、Intelのメッセージかな。ヘッダピンのある面は全く冷却されないから。だけど、内部ヘッダピンは拡張カードのバスパワー(2.5W)として使えるかも。
で、TVチューナだったらもちろんUSB外付けがまっとうな選択肢だけど、それじゃナニなこともあるので、敢えてPCI接続のTVチューナをmini-PCIe変換カードを介してつけてみる(ハーフサイズソケット)。そうすると、残るフルサイズのmini-PCIeソケットを何に使うかということになるんだけど、
(1) 素直にIntel SSD 525 240GBをつける
(2) mini-PCIe-SATA3 x2変換カード(PM9172)を介してテラバイトHDDをつける
(3) Intel Centrino Advanced-N 6325を付けて、WiDiで遊ぶ
(1)にすると、HDDはUSB接続またはNASになる。ま、それもありかな。(2)は魅力的なソリューションで、ストレージを一気に4TB x2まで増やしたり、SSD+HDDにしてIntelの新しいSmart Response Technologyとか試したりできる。(3)はIvy Bridge世代ならではのWiDi機能で、モニタを無線化出来る。これは素晴らしい!前からやってみたいと思ってた。でも、そうすると起動ドライブはどうなるのって?
これはもうUSBから起動するしかないんだけど、これがまたソフト・ハードのハードルが高い。
(1) Portable Virtual Box
(2) BOOT革命 Ver.5
(3) Windows To Go (Windows 8 Enterpriseバージョンのみ)
仮想化は後が何かと面倒なのでできれば避けたい。Windows To Goはそもそもエンタープライズ向けでライセンスの問題とか、対応しているUSBフラッシュドライブがまだまだ少ないとか(USB接続のSSDにも普通にインスコ出来るという話ではあるが)あって。BOOT革命でうまく行けば良かったんだけど、起動中にブルースクリーン(エラー 0x0000007B)が出てしまって、どうも起動ドライブのドライバ読み込みに失敗するんじゃないかと思うんだけど、まだ回避策が分からない。
そこで、まずは動かすことを目指して無難な路線に戻り
(1) Intel SSD 525 240GB
(2) mini-PCIe延長ケーブル + mini-PCIe-PCIx2変換カード + TVチューナ
(3) SATA-USB変換+4TB HDD
という構成がハードウェアとして成り立つのかどうか検証してみた。
<準備>
■ メモリ
TV録画マシンに大容量は必要ないんだけど、QSVの性能をフルに引き出すためには1600MHzの速度が有用だと思う。後でtsファイルをハードエンコするのに効果を発揮してくれるはず。今回買ったCFDは結構安くて、デュアル動作謳ってて、しかもDC3217IYEで動作してる実績があった。1600は相性が出やすいと言われたけど、流石Intelマザー、何の問題もなかった。
■ SSD
送って頂いたIntel SSD 525は、240GBという大容量(改めて有難うございます)。2.5インチSSDの520と互角の性能で、sequencial read/writeが500Mb/sを超えるスペック。520同様、SandForce SF-2281コントローラにIntel独自のチューニングを施したカスタムファームウェアを使う。240GBっていう中途半端な数字が、オーバープロビジョンニングをしてるって証拠でもある。一方、競合するCrucialのm4とPLEXTORのM5Mは、Marvell製コントローラ。これらと比べて、525のsequencial/random write性能が高いのはSandForceならでは。
■ モニタと音声
HDMI対応モニタを持ってるひとは悩むことないけど、うちのように古いモニタでDVIしかない場合、NUCからHDMIケーブルで出力し、モニタ側でHDMIからDVIに変換するのが良いようだ。
◯ NUC > HDMIケーブル > HDMI/DVI変換アダプタ > モニタ
逆に、NUC側でHDMIからDVIに変換してDVIケーブルでモニタにつなぐと映らない(ハマりました)。
✕ NUC > HDMI/DVI変換アダプタ > DVIケーブル > モニタ
秋葉中さがし回って、東映で50cmという短いHDMI High Speedケーブル(カモン製)が1本だけ残っているのを見つけた。ただ、HDMIが無いと音が出せない。mini-PCIe-PCI変換カードを介してPCI接続のサウンドカードを3枚試してみたけど、なぜか音は出なかった。既定路線から外れると困難が待ち受けているという良い例。あたま痛い。でも、USB DACで普通に出るそうだ。持ってないので、今度の雑誌の付録を予約してみた。
<Windows 7のインストール>
USB接続のDVDドライブを使うか、USBメモリからインストールする選択肢がある。4GBのUSBメ
モリがあれば、こちらがお薦め。DVDより明らかにに高速。手順はココから。
■ Windowsが走っている別のPCでの作業
1.Windows 7のインストールISOイメージを用意
2.Windows 7 USB/DVD Download ToolのインストールファイルをDLし実行
Microsoft Store
CodePlex
3.USBメモリを入れて、Windows 7 USB/DVD Download Toolを立ち上げる
4.ISOイメージとUSBメモリを指定してUSB起動ドライブを作成
■ NUCでの作業
1.USB起動ドライブをさして立ち上げる
2.起動直後にF2キーを押してBIOSに入る
3.Advanced Setupメニューを選択
4.Bootタブを選択
5.USBドライブをマウスでドラッグして一番上に
6.再起動すると、USBから立ち上がる
7.通常のWindowsインストールが始まる
<各種ドライバのアップデート>
DC3217IYEのサポートページはココ。
「最新のダウンロード」からすべてを表示>で各種ドライバのダウンロードが表示される。OSのバージョンを選んで、以下をダウンロードする。ただし、最初はネットワークが動いてないので、NUC上で操作するには別のPCでネットワークドライバをDLしておく必要がある。
1. チップセットドライバ
2. グラフィックドライバ
3. ギガビットLANドライバ
4. ワイヤレスドライバ(Centrino Advanced-N 6325を使う場合)
5. ラピットストレージテクノロジ(AHCI)ドライバ
6. Intel マネージメントエンジン8のドライバ(入れておかないとデバイスマネージャでフラグが立つ)
7. ついでにBIOSもアップデート32bitの場合、GKPPT10H.86A.0040.EB.EXE 自己解凍ファイルが推奨される方法になっている。
8. それから、Intelの技術白書(ホワイトペーパ)の中に、Building a Responsive PC (反応性の良いPCを作る)というのがあって、
(1) Intel Rapid Start Technology(S5ハイバーネートからの瞬速復帰)
(2) Intel Smart Connect Technology(スリープ下でのオンラインアップデート)
(3) Intel Smart Response Technology(SSD+HDDのパフォーマンス最適化)
(4) Fast Boot(BIOSの設定)
が挙げられている。
Rapid Start Technology設定の手順は
・ BIOSの設定(Advanced SetupのPowerから、Smart Connect TechnologyとRapid Start Technologyにチェックを入れる)
・ diskpartを使ってハイバーネーション用のパーティションを切る(メモリ容量以上)・・・詳細省略
・ Rapid Start Technology ドライバをインスコ
Smart Connect Technology設定の手順は
・ Smart Connect Technologyアプリケーションをインスコ
・ Wake間隔を設定
Fast Boot設定は、BIOSのAdvanced SettingからBootに入って
・ General Optimization
・ Video Optimization
・ USB Optimization
にチェックを入れる
9. WindowsのメニューからWindowsアップデートをやっておく(現在139個)
<地デジチューナの設置>
mini-PCIeのフルサイズソケットに起動ドライブを置くとすると、地デジチューナはハーフサイズソケットにmini-PCIe-PCI変換アダプタを介してつなぐことになる。そして、この変換アダプタ自体の大きさがフルサイズなので、間にハーフサイズの延長カードをかませる。
これで簡単と思っていたら、実は延長のフラットケーブルがフルサイズカードの固定ネジに干渉してしまって、写真のように折り曲げないと設置できないということが判明した。かなり苦しい。出来たらフラットケーブルじゃなくて撚り線に変えたい。
拡張PCIへの5V電源供給は、内部USBピンヘッダからのバスパワーを使って地デジチューナ(1枚)の動作を確認することができた。地デジカードは2W程度との報告があるので、2枚になるとバスパワーが2つ必要になる可能性はある。
<テラバイトHDDの設置>
さて、録画タイムマシンということで大容量HDDは必須アイテム。これもUSB外付けで特に問題はないんだけど、mini-PCIeをSATA3x2基に変換してくれるカード(PM9172)を使って、SSDとHDDを内蔵することも無理ではない。SSD 525は、mSATA-SATA変換カードを使えば有効に使える。ただし注意が必要なのは、フルサイズソケットにつなぐこと、また報告によるとBIOSのバージョンを39以降にしないとSATA変換カードを介したドライブにOSをインスコする際に不具合が生じる(mSATAに直差ししてOSをインスコした後に変換カードで接続するのはOKらしい)。
SATAドライブの電源供給については、NUCの外部電源に直結しているDC19V電源端子が付いているので、超小型PSU (power supply unit)を介して12Vと5Vを引き出すことが可能だ。これを使うと、PCI用の補助電源としてUSB内部ヘッダピンを流用する必要もなくなる。
<ベンチマーク>
Windows Experience Indexは、すごいスコアを出してる。SSDが7.9だけど、これってマックス値でしょ。メモリも7.6あるし、CPUは6.1だけど、体感でさくさく動いてるように感じる理由が分かる気がする。
SSDは特にランダム性能の高さが、体感速度に寄与してるなと思う。同じくIntelのSSD 520より若干スコアが低いのは、SSDの性能というよりテストプラットフォームの違いかもしれない。日本の市場に出回ってるmSATAドライブの中ではトップクラスであることは間違いない。オーバープロビジョニングのお陰で書き込み性能劣化が低減されるであろうことも、速度以上に大事なポイントだと思う。
IntelのSSDツールボックスを使うと、SSDの推定余命を調べたり、最適化が出来る。DLはココから。
次にQuick Sync Videoのパフォーマンスの進化のほどを見てみた。6GBのtsファイルをH.264 MP4に圧縮する時間を、Ivy BridgeのCore i3-3217UとSandy BridgeのCore i5-2500Kで比べたところ
噂どおりというか、期待以上というか、MediaEspresso 6.7とMedia Converter 8で、30−40%の時間短縮を確認することができた(うれしい)。Intel HD Graphics 4000では、エンコード時間短縮に加え画質向上も図られているということで、全体として同じクオリティを得るために必要な時間が短くてすむということらしい。Core i5では2000MHzのOCメモリを使っているので、Core i3でも1600MHzより高速なメモリを使うことができればもっと差が開いた可能性はあるが、残念ながらD33217GKEではOCがサポートされていない。また、Core i3-3217Uは2コア/4スレッド、Core i5-2500Kは4コア/4スレッドということで、CPU稼働率はそれぞれ50%前後と20%前後という違いがあり、普段は音のしないDC3217IYEがトランスコード時はファンを一生懸命回していた。
<USBブート>
BOOT革命Ver5を使って、USBフラッシュドライブからWindows 8の起動に成功した。Windowsの立ち上がりにドライブを見つけられないというBSOD(0x0000007B)をやっと回避することができた(体験版にも関わらず、速攻で回答をくれたアーク情報のサポセンの方のお蔭m(__)m)。
エクスペリエンス・インデックスが走ったのには驚いた。VHD(仮想ハードディスク)では走らないことが常識のようだから。スコアを見るとCPU、GPU、メモリはほぼネイティブと同じ速度であることが分かる。唯一、プライマリハードディスクのスコアが非常に低く、これが動作のもっさり感に如実に現れている。DC3217IYEではUSB2.0なので厳しいが、次世代NUCではUSB3.0になるので格段に改善されるだろう。
原理的に動作することが確認できたので、NUCの一つの形としてあり得る。例えばmini-PCIeのハーフサイズに本来の Centrino WiFiカードをさして、PCI変換カードと地デジチューナはライザカードなしに直接フルサイズソケットにさすことも可能だ。
■ USBブート環境について
USBメモリにWindowsを入れて運用することは、かつてのEeePCでもよく行われていたことのようで、とても参考になった(例えばココ)。
BOOT革命USB Ver5は、システムドライブをUSBメモリにコピーしてくれるツールで、それ自体は極めて簡単なんだけど、何故か必ずブルー・スクリーンが出て起動に失敗する。どうやらUSBブートを成功させるポイントは、USB関係のデバイスドライバをどのタイミングで読み込ませるかということで、これをレジストリで手動設定する必要があって、ちょっと面倒だ。
今回は、Windows 7で中々うまくいかないので、もしやUSBドライバが新しくなっていたらと思ってWindows 8を試してみたら、うまく行った。ただ、ホントにWindows 8じゃないとできないのか、たまたま使ったWindows 7のコピーが壊れていたのかは、自信がない。
手順をまとめると、
1. Windows7 USB/DVD Download Toolを使って、Windows 8のISOイメージをUSBメモリにコピーする。
2. USBからWindows 8インストーラを立ち上げる。
3. インストーラからコマンドプロンプトを呼び出し、Intel SSD 525 240GBを手動フォーマットし、USBメモリの大きさよりちょっと小さめの30GBパーティションを切る(予約領域パーティションを作らせないため)。DOSコマンドdiskpartを実行し、
list disk
select disk [該当する数字]
clean
create partition primary size=30000
select partition 1
active
format fs=ntfs
assign
exit
4. SSD 525の30GBパーティションにWindows 8をインストールする。
5. SSD 525からWindows 8を立ち上げ、hibernateとpagefileを停止する。
powercfg.exe /hibernate off
コンピュータで右クリック>システムの詳細設定>詳細設定タブ>パフォーマンス設定>詳細設定>仮想メモリ>ページングファイルなし
6. ドライバのアップデート、Windowsのアップデート、アプリケーションのインストールを行う。
7. regeditでUSB関連のレジストリを変更する。
ハイブ
HKEY_LOCAL_MACHINE¥SYSTEM¥ControlSet001¥services¥
HKEY_LOCAL_MACHINE¥SYSTEM¥CurrentControlSet¥services¥
キー
usbehci
usbhub
usbohci
USBSTOR
usbuhci
変更値
Start = 0
Group = Boot Bus Extender
8. ここで初めて、Windowsを入れようとしているUSBメモリをさす。USBのソケットは、背面が1−2、内部ヘッダピンが3−4、フロントが5番となっているが、どうやらどこを使っても同じ。
9. BOOT革命Ver5を使ってシステムドライブをUSBメモリにコピーする。
10. 再起動を促されるので、F2キーでBIOSに入り、USBメモリを起動ドライブに指定する。
11. 再起動すると、ESC以外のキーを押すよう求められる。次いでUSBブートのパスワードを入れて、Windowsを立ち上げる(F8で詳細メニューの表示)。ここで(何故か)USBディスクスキャンが入り、修復が行われる。
12. 再起動するのでパスワードを入れてUSBメモリからWindowsを立ち上げる。
13. シャットダウンは注意が必要。通常のシャットダウンではUSBへの給電が止まり、システムファイルが壊れるので(予期せぬ終了のエラー)、シャットダウンではなく再起動をして、いったんBIOSに入った後、スイッチの長押しで電源を落とす。もしくは、スリープで運用する。
Centrino WiFiカードと地デジチューナがちゃんと認識されている。USBは、起動ドライブ、キーボード、マウス、カードリーダ、そしてPCIへのバスパワーの5本で充足してしまう。
14. RAMディスクを作ってIEのキャッシュにする。
IO-DATA RamPhantom EX
Baffalo RAMDISK
ちょっと極端な比較だけど、上段がUSBメモリ、下段がRAMディスク(IO-DATA RamPhantom EX)。それぞれランダムデータ(左)と0Fill(右)。USB2.0としては普通のパフォーマンスかな。起動すると5分くらいの間ディスクアクセスが100%という状態が続いて、無反応になるけど、それ以降は比較的サクサク動くようになる。RAMディスクの設定項目からIEのキャッシュをRAMディスクに設定できる。
本機はUSB2.0なのであまり効果は期待できないかも知れないけど、Windows To Go対応を謳うメモリならランダム性能が良いはずだから、試してみたいな。
<地デジマシンの最終形>
地デジチューナとテラバイトHDDを搭載するという選択をした時点で、Centrino WiFiカードとSSD 525ははずさなければならない。そして、地デジマシンとして現在までに安定動作が確認できたハード構成は、
(1) Windows 8をインストールしたUSBメモリ32GBをUSB5に接続
(2) Hitachi 4TBハードディスクをmini-PCIe-SATA3 x2変換基盤を介してフルサイズソケットに接続
(3) mini-PCIeハーフサイズソケットに延長ケーブルを介してPCI変換基盤、地デジチューナを接続
(4) USB4からPCI変換基盤に給電
(5) USB3にカードリーダを接続
(6) USB1・2にキーボードとマウスを接続
ただし、ハードディスクは、現在はまだ外部ATX電源から給電している状態。因みに、Hitachi 4TBに直接OSをインストールすればとも思ったけど、それは出来ないとインストーラに怒られた。理由は良くわからないけど、変換基盤の相性かドライバの問題かなと思う。USBメモリから立ち上げると、問題なく3.7TBが見えている。
ベンチはこんな感じ。
■ そして、エンクロージャ
時間が無くなってきたので、とりあえず木箱を買ってきた。
「とにかくPCに見えないように」
との家族の要望を踏まえて、上から箱をかぶせましょ、と。
まず、アルミの板に適当に穴をあけてPCI拡張基盤とハードディスクをねじ止め。
それからアルミ板ごと土台となる木の板に固定し、すきまにNUCを置いて、ケーブルを接続して上から木箱をかぶせる。
箱の後面にはケーブル用の穴を開けてある。このままだともちろん排熱も何もないので、後面に8cmファン2基(吸気と排気)を設置するための穴を開け、NUC本体の起動スイッチは使えないので、ヘッダピンからケーブルを引いて、後部にスイッチを設置した。
<結論>
今回のレビューの宿題は、NUCで地デジマシンが構築できるかどうかを検証するというということだった。基本的には確認できたと思う。地デジカードがもう一枚必要だし、まだ補助電源の問題とか、USB-DACとか残ってるけど、これは解決できる問題だから機材がそろえば大丈夫だろう。
コメント (6)
他3件のコメントを表示ZIGSOWにログインするとコメントやこのアイテムを持っているユーザー全員に質問できます。
YouTube の動画を挿入
YouTube の URL または動画の ID を入力してください
動画の ID が取得できません。ID もしくは URL を正しく入力してください。
ニコニコ動画の動画を挿入
ニコニコ動画の URL または動画の ID を入力してください
動画の ID が取得できません。ID もしくは URL を正しく入力してください。
ZIGSOWリンク挿入
検索対象とキーワードを入力してください
外部リンクを挿入
リンク先の URL とタイトルを入力してください
URL を正しく入力してください。
ほかのユーザーのレビュー
-
Intel NUC(Next Unit of Computing) Kit QS77 Expressチップセット Intel Core i3-3217U搭載マザーボード(D33217GKE)キット BOXDC3217IYE
NUCで仮想サーバ構築 1.用語解説 簡単ながら用語解説を行います。・VM(VirtualMachine、仮想マシン)...
-
Intel NUC(Next Unit of Computing) Kit QS77 Expressチップセット Intel Core i3-3217U搭載マザーボード(D33217GKE)キット BOXDC3217IYE
zigsowプレミアムレビュー「求むNUC使い!NUCHACKREVIEW」のレビューです。人気のオンラインアクションRPGの「ファンタシースターオンライン2をインス...
-
Intel NUC(Next Unit of Computing) Kit QS77 Expressチップセット Intel Core i3-3217U搭載マザーボード(D33217GKE)キット BOXDC3217IYE
今回、インテル社NUC(NextUnitofComputing)Kitの第2弾レビューアに選出して頂きました。先に申し上げますと、掲げたテーマがまったくもって達成でき...
-
Intel NUC(Next Unit of Computing) Kit QS77 Expressチップセット Intel Core i3-3217U搭載マザーボード(D33217GKE)キット BOXDC3217IYE
IntelNUCBOXDC3217IYEレビュー4/25いつものようにzigsowへログインするとメッセージが1件ありました。さて何だろう?と見てみると・・・NUCの締め切り...
-
Intel NUC(Next Unit of Computing) Kit QS77 Expressチップセット Intel Core i3-3217U搭載マザーボード(D33217GKE)キット BOXDC3217IYE
この度は、本製品と と との3点セットでレビューをさせていただくことになった。 研究で使っている自動ステージ(ステッピングモー...
-
Intel NUC(Next Unit of Computing) Kit QS77 Expressチップセット Intel Core i3-3217U搭載マザーボード(D33217GKE)キット BOXDC3217IYE
イントロ TV録画サーバが作りたい!と言ってレビュアーになりたいとお願いしました。リビングに置いて、家族で使うものを妄想していましたが...
-
Intel NUC(Next Unit of Computing) Kit QS77 Expressチップセット Intel Core i3-3217U搭載マザーボード(D33217GKE)キット BOXDC3217IYE
『NUCて、小さいよなー。異機種改造するとき、ラクだろうなー・・・・』 vPro応募し忘れたことを日記に書いた日、NUC応募を迷っていた際に思っ...
-
Intel NUC(Next Unit of Computing) Kit QS77 Expressチップセット Intel Core i3-3217U搭載マザーボード(D33217GKE)キット BOXDC3217IYE
知る人ぞ知る(知らない人は知らない?)オーディオデジタルタイマーと呼ばれる物です。指定した時間になると、この機械を経由して電源に接続...
-
Intel NUC(Next Unit of Computing) Kit QS77 Expressチップセット Intel Core i3-3217U搭載マザーボード(D33217GKE)キット BOXDC3217IYE
自宅用のPCはあり、2台目ならばどこか別の場所で使ってみようかと。コンパクトさと今回のレビューにはWiFi+Bluetoothアダ...
-
インテル Intel SSD 525 (LinconCrest) mSATA 240GB BLK SSDMCEAC240B301
NUCのレビューに利用するためのSSDです。NUCHACKREVIEWの付属品として付いて来ました。そのために、主なレビューはNUCの方に書き込んでいきたいと思...
-
インテル Intel SSD 525 (LinconCrest) mSATA 240GB BLK SSDMCEAC240B301
NUCプレミアムレビューのセット品として提供して頂きました。私はSSDを使用するのは初めてです。先に書いてしまうと、正直ここまで体感・計測...
-
インテル Intel SSD 525 (LinconCrest) mSATA 240GB BLK SSDMCEAC240B301
NUC-Reviewで用意頂いた、mSATA規格のSSD。元々、予定されていた製品は128GBだったのだが、Intelさんのご厚意で倍の256GBモデルが提供された。 コント...
-
インテル Intel SSD 525 (LinconCrest) mSATA 240GB BLK SSDMCEAC240B301
zigsowプレミアムレビュー「求むNUC使い!NUCHACKREVIEW」のアイテムのひとつ”IntelSSD525240GB”のレビューです。ノートPCやNUC用のmSATSタイプのSSD”Intel525...
-
インテル Intel SSD 525 (LinconCrest) mSATA 240GB BLK SSDMCEAC240B301
ととのセットでレビューすることになっている。から部分引用:□□□□□□□□□□□□□□□□□□□□□□□□□□□□□□□□□□□...
-
インテル Intel SSD 525 (LinconCrest) mSATA 240GB BLK SSDMCEAC240B301
さすがに速いです。Windows8、UEFI、SSDはセットで考えるのがよさそうです。起動の仕組みが旧来のBIOS起動からUEFI起動に変わったことに伴って、起動...
-
インテル Intel SSD 525 (LinconCrest) mSATA 240GB BLK SSDMCEAC240B301
Intel謹製の超高速SSD。IntelNUCでのベンチマーク比較は下レビューに記載。同じくIntelの2.5インチSSD520とほぼ互角の性能と言え、特にランダム書き込...
-
インテル Intel SSD 525 (LinconCrest) mSATA 240GB BLK SSDMCEAC240B301
NUCに組み込みました。想像以上に快適です。WindowsUpdateがあっという間に終わるのでうれしくなりました。振動にも気を使わなくて良いので、持ち...
-
インテル Intel SSD 525 (LinconCrest) mSATA 240GB BLK SSDMCEAC240B301
もともとは120GBのはずでしたが240GBに変更になったといううれしい報告が。このサイズで240GBってすごいですね。ただ、パッケージが...
-
Intel Centrino Advanced-N 6235 802.11a/b/g/n 300Mbps + BlueTooth 4.0 HS
今回、NUC-Reviewのために用意された無線LAN。 その型番を見たとき、真っ先に思いついたのは「NUCの画面表示を、ワイヤレス化出来るのでは無いか...
-
Intel Centrino Advanced-N 6235 802.11a/b/g/n 300Mbps + BlueTooth 4.0 HS
IntelNUCのレビューに付属していたワイヤレスLANアダプターです。IntelNUCへの取り付けはNUCのレビューをご覧ください。また、NUCのレビューは下記の...
-
Intel Centrino Advanced-N 6235 802.11a/b/g/n 300Mbps + BlueTooth 4.0 HS
NUCプレミアムレビューのセット品として提供して頂きました、Wi-FiとBluetoothのモジュールです。【大きさ】mini-PCIeのコネクタを見ているので、おお...
-
Intel Centrino Advanced-N 6235 802.11a/b/g/n 300Mbps + BlueTooth 4.0 HS
zigsowプレミアムレビュー「求むNUC使い!NUCHACKREVIEW」のアイテムのひとつ”IntelCentrinoAdvanced-N6235”のレビューです。MiniPCIExpressスロット用のWi-Fi+Bluet...
-
Intel Centrino Advanced-N 6235 802.11a/b/g/n 300Mbps + BlueTooth 4.0 HS
NUC本体をAVサーバ的に使い始めたので、ネットワークは、有線LANとしました。けれど、このNICは、Bluetoothとコンボなのでマウス・キーボードをこれ...
-
Intel Centrino Advanced-N 6235 802.11a/b/g/n 300Mbps + BlueTooth 4.0 HS
NUCに取り付けた通信モジュールです。以前ThinkPadを分解した時に似たようなワイヤレスモジュールを見ましたが、その半分ほどの大きさでした。と...
-
Intel Centrino Advanced-N 6235 802.11a/b/g/n 300Mbps + BlueTooth 4.0 HS
ネットブックやUltrabookパソコンにも使えるコンパクトなもの。とのセットでレビューすることになっている。から引用:□□□□□□□□□□...
-
Intel Centrino Advanced-N 6235 802.11a/b/g/n 300Mbps + BlueTooth 4.0 HS
前回は使わなかったのですが今回のレビューはコレもセットでした。やはり、USBが少ないNUCには必要だと思います。無線LANを使うのに一つ、Bluetoot...
-
Intel Centrino Advanced-N 6235 802.11a/b/g/n 300Mbps + BlueTooth 4.0 HS
とにかくCentrinoの一番のウリはWiDi(ワイヤレス・ディスプレイ)だと思うけど、肝心のレシーバ(NEGEARのPush2TV)を持ってないので、ワイヤレスの...











































ちばとどさん
2013/05/02
わたくしも録画機指向でレビュー作成中ですが、UEFIのところで寄り道しています^^;
notokenさん
2013/05/02
もう、なんというか、それなりのムチャぶり・・・・。
でも、この方法を使うと3.5インチのHDDが積めるではないか!
sorrowさん
2013/05/02
notokenさん
コメント有難うございます。取り敢えず動きましたが、これからです。
惟乃瀬さん
2013/05/09
これは常用マシンということでいいのでしょうか?
であるならば、ホコリ対策などはどのようにするつもりなのか気になったのですが、そこまではまだ手を付けてないという感じで宜しいですか?
唐突な質問ですいません。
sorrowさん
2013/05/09
ちばとどさん
2013/05/14
わたしのNUC録画機もSSDにTSデータを置いてQSVでエンコしてシアワセです。